「分享网」
交流区
首页
最新项目
撸菜工具
本站推荐
合集系列
活动区
曝光
项目区
交流区
抽奖
黑屋
黑屋
搜索
签到
登录
交流区
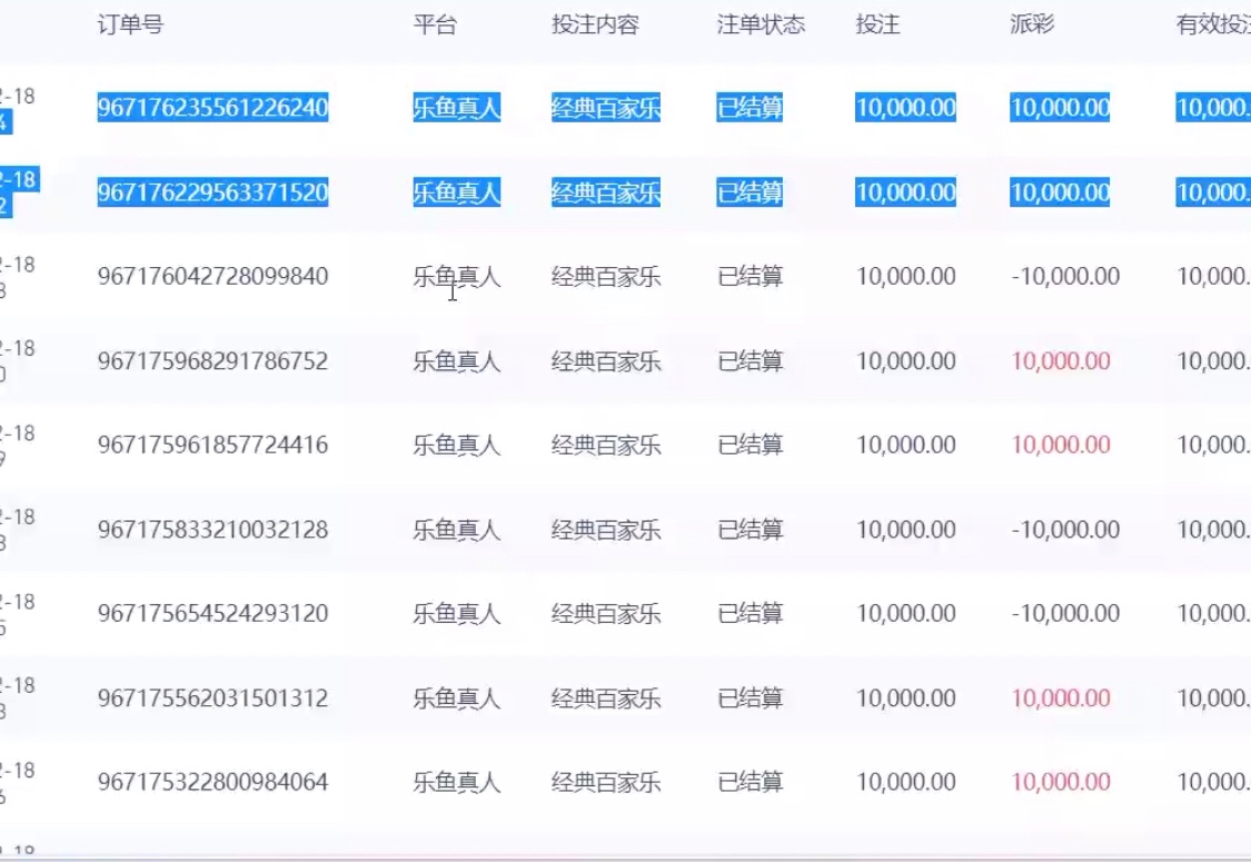
百加哭倒下12个
百加哭倒下12个
财神爷
2024-2-18
7942
你们再也看不到我了
我要去高消费
上传的附件:
D9CD8C36-286E-4D06-A79D-72B22AF85B7E.jpeg
(大小:333.68K,下载次数:1)
C603A4BE-0215-4B0A-BB3B-39FC30F36295.jpeg
(大小:173.38K,下载次数:5)
点赞
0
收藏
0
打赏作者
本站声明
1、本帖标题:
百加哭倒下12个
2、本站网址:
http://fxw44.com/
3、本站资源均来自互联网-需自行判断与负责。每日更新(论坛内容仅用于 薅羊毛 白嫖 论坛严禁充值娱乐 严禁任何形式推广 发现一律提交当地公安 )感谢您的支持!
4、本站由菲律宾华人分享网公司运营,本站运营非盈利机构,请您满足18+ 后进行访问并确保你所在的当地区支持相关的游戏管理 支付、及支持服务等事宜, 游戏易上瘾,请注意节制。
收藏的用户(
0
)
X
正在加载信息~
最新回复
(
11
)
路人的爸爸
2024-2-20
0
12
楼
土狗
财神爷
楼主
2024-2-20
0
11
楼
慕杨666
是我的一条野狗
关我什么事?
慕杨666
2024-2-19
0
10
楼
是我的一条野狗
财神爷
楼主
2024-2-19
0
9
楼
慕杨666
徐玉良
徐玉良是你谁啊
没有幸福
2024-2-19
0
8
楼
你他妈送哪个地方送你送乐鱼,那你不该死
ac156324
2024-2-18
0
7
楼
麻雀直播你都搬过来了
一只小可爱
2024-2-18
0
6
楼
畜生,等着被捉
一只小可爱
2024-2-18
0
5
楼
自杀了太惨
慕杨666
2024-2-18
0
4
楼
徐玉良
操泥马
2024-2-18
0
3
楼
操你妈这图都包浆了,狗杂碎你装什么装
我喜欢插白虎
2024-2-18
0
2
楼
草泥马的赶紧去死
【分享网】
13
楼
登陆
丨
注册
评论
高级回复
返回
发新帖
财神爷
搜索
本站杜绝一切以赌博获利的存在,所有项目均来自互联网转载。收录内容真实性需自行判断,如出现任何问题本站免责。感谢理解。